苹果发布新的专利:手机戴壳也能拥有裸机按键手感
据外媒PatentlyApple报道, 美国专利商标局公布了一项苹果的专利申请,该项专利涉及到手机保护壳的手感问题,可以让手机在戴壳的情况下按压按键也能拥有类似裸机的手感。
近些年,随着iPhone价格的日益飙升,绝大多数人在购买苹果手机后就会给手机贴膜戴壳,这样虽然也能很好地保护手机,但同时带来的还有手机整体手感不佳的问题。
其中,最主要的还是按键手感不佳的问题,在手机不戴壳时,按键回弹特别有力,而戴上厚实的保护壳后,很多手机的按键会变得特别僵硬,所以很多人就进入戴壳和不戴壳的两难境地。
苹果也是注意到了这个问题,并采取了措施来改善这个问题。该专利应该就是为了解决手机佩戴保护壳后导致的手感变差的问题。
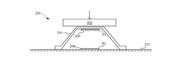
在该专利中,苹果将外壳的按钮内部放置了一块磁铁,这样当用户按下外壳的外部时,磁铁会点击按钮本身,形成一个精确的触感点击,就和裸机按键时的感觉一样。
- 全部评论(0)
15015654286 评论 科大讯飞星火认知大:大家好 期待
18458407950 评论 科大讯飞星火认知大:期待期待
17872407701 评论 科大讯飞星火认知大:好期待呀!
13869842415 评论 实践:更改“地区”:不同地区可用信道不同,澳大利亚属于可用信道很多的地区,所
13869842415 评论 实践:更改“地区”:abc就打不动我i大
15015654286 评论 火山引擎增长课堂 新:期待 期待
18139341200 评论 火山引擎增长课堂 新:多多的了解
- 1.小米新十年的关键跨越:战略升级「人车家全生态」,小米澎湃OS、小米14系列等重磅首发
- 2.百万跑分+游戏满帧 Redmi Note 12 Turbo发布
- 3.越级新标杆 “轻薄长续航 越级大内存”vivo Y100正式发布
- 4.蔡司影像,心临其境 vivo X100系列正式发布
- 5.自主研发与开放合作并举 vivo新技术亮相双芯x影像技术沟通会
- 6.产品力超越所有骁龙8Gen3 Pro版旗舰 十年超越之作一加12正式发布
- 7.杭州亚运会电竞赛事官方用机 超级标准版iQOO 11S正式发布
- 8.高性价比年度质感旗舰 真我GT2大师探索版正式发布
- 9.设计性能体验全面提升 vivo X Fold+折叠屏正式发布
- 10.一样好,又好不一样 vivo X Fold2|X Flip旗舰折叠新品正式发布












内存、闪存涨价25%是开始!1T、12/16/
170万跑分+6000mAh电池 这手机就是来捣乱
一加宣布全球首发高通最强中端处理器
3月发布会大盘点:科技新品齐亮相 小
天玑之王!联发科天玑9300+来了


