苹果专利曝光新iPad Pro:首次配备刘海屏、凹槽位于长边中央
基于当前的技术现状判断,苹果想要把一套精密的Face ID模组元件全部做到屏下还有难度,所以刘海异形屏可能仍旧会保留几年。
这就带来一个新问题,如果iPad Pro考虑进一步收窄边框,提升屏占比,那么搭载刘海屏就成了唯一的选择。
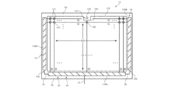
事实上,日前美国专利局公开了苹果公司新专利恰恰坐实了这点。苹果在专利中预览了基于刘海屏的iPad设计,更出人意料的是,刘海位于长边的中央,也就是进一步照顾横向使用模式。
从新晋推出的2020款iPad Pro来看,苹果打出了“你的下一台电脑何必是电脑”的口号,通过对键鼠、触控板的深度优化,希望更多消费者考虑选购iPad Pro作为生产力工具。显然,配合键盘套(如妙控键盘)的情况下,横向模式(landscape mode)的频次会越来越高。

图为2020款iPad Pro
另外,横屏使用iPad成为主流后,Face ID挪到长边中央位置也可以减少当前因手指遮挡造成反复解锁失败的情况。
早先有爆料称,苹果计划今年底再推出一款12.9寸iPad Pro,升级点包括5nm A14X处理器、mini LED背光显示屏等,不知道它和专利中的刘海屏iPad是不是一回事儿。
- 全部评论(0)
15015654286 评论 科大讯飞星火认知大:大家好 期待
18458407950 评论 科大讯飞星火认知大:期待期待
17872407701 评论 科大讯飞星火认知大:好期待呀!
13869842415 评论 实践:更改“地区”:不同地区可用信道不同,澳大利亚属于可用信道很多的地区,所
13869842415 评论 实践:更改“地区”:abc就打不动我i大
15015654286 评论 火山引擎增长课堂 新:期待 期待
18139341200 评论 火山引擎增长课堂 新:多多的了解
- 1.高效生产力工具,全新小米平板 6S Pro 12.4正式登场
- 2.体验全面越级!realme正式发布真我Buds Air3 Neo、真我笔记本Air
- 3.笔记本硬核配置全面升级 幻16系列打造全能本旗舰标杆
- 4.性能巨幕 影游办公全能王 iQOO Pad优科技实拍图赏
- 5.全系标配H标压处理器!荣耀MagicBook X Pro系列全新跃级上市
- 6.全能且轻薄 vivo Pad2全新升级打造大屏真旗舰平板
- 7.荣耀MagicBook 14系列2023上市,荣耀“三叉戟”开启智慧PC新时代
- 8.大屏实力派超级工作台,荣耀平板V8 Pro满血性能释放高效生产力
- 9.脱口秀演员庞博现身荣耀笔记本发布会 点赞三叉戟轻薄本战神
- 10.业界首发裸耳3D空间音频!荣耀平板MagicPad 13正式发布












高通骁龙X Elite/Plus竟有8个版本:完全
iPad Pro 2024来了:苹果下单近千万台 新
最强平板预定!vivo Pad3 Pro详细参数曝
M3版MacBook Air全球售价汇总:哪儿最贵
苹果M3版本MacBook Air 13/15发布
第一款3nm轻薄本来了!MacBook Air 2024蓄


