专利显示微软Surface触控笔将支持边框吸附充电
时间:2020-05-10 11:31|来源:驱动之家|编辑:三哥|点击:次
目前微软旗下主要的Surface产品均支持了自家的触控笔(Surface Pen),然而,相较于苹果iPad、华为MatePad,缺失了极为方便的吸附式无线充电功能。
相反,Surface Pen维持运作仍需要购买相对小众的9号电池(AAAA)。
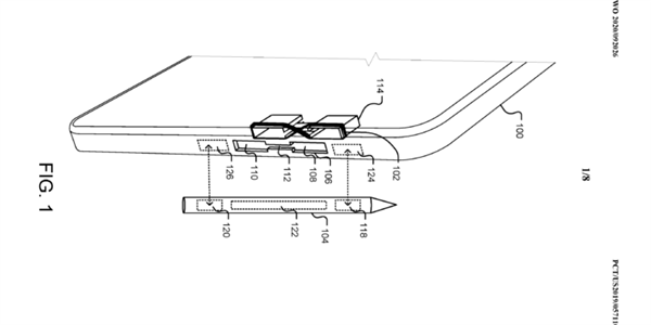
不过局面很可能会发生变化。微软2019年10月21日提交,日前公开的专利显示,就介绍了在平板边框集成感应式无线充电线圈的技术。
尽管专利往往有“占坑”的成分存在,但考虑到Surface对微软的重要性,以及竞品的完成度,有理由相信微软很快配备这项技术。
其实,熟悉Surface的用户应该知道,随Surface Pro X推出的超薄触控笔就内置了电池,可配合USB-C充电底座或者Surface Pro X专用键盘盖充电,可坦率来说,这显得依然麻烦。

图为Surface Pro X
热门导读
发表评论
说点什么吧
- 全部评论(0)
15015654286 评论 科大讯飞星火认知大:大家好 期待
18458407950 评论 科大讯飞星火认知大:期待期待
17872407701 评论 科大讯飞星火认知大:好期待呀!
13869842415 评论 实践:更改“地区”:不同地区可用信道不同,澳大利亚属于可用信道很多的地区,所
13869842415 评论 实践:更改“地区”:abc就打不动我i大
15015654286 评论 火山引擎增长课堂 新:期待 期待
18139341200 评论 火山引擎增长课堂 新:多多的了解
还没有评论,快来抢沙发吧!
编辑推荐
最新资讯
热点资讯
- 1.高效生产力工具,全新小米平板 6S Pro 12.4正式登场
- 2.体验全面越级!realme正式发布真我Buds Air3 Neo、真我笔记本Air
- 3.笔记本硬核配置全面升级 幻16系列打造全能本旗舰标杆
- 4.性能巨幕 影游办公全能王 iQOO Pad优科技实拍图赏
- 5.全系标配H标压处理器!荣耀MagicBook X Pro系列全新跃级上市
- 6.全能且轻薄 vivo Pad2全新升级打造大屏真旗舰平板
- 7.荣耀MagicBook 14系列2023上市,荣耀“三叉戟”开启智慧PC新时代
- 8.大屏实力派超级工作台,荣耀平板V8 Pro满血性能释放高效生产力
- 9.脱口秀演员庞博现身荣耀笔记本发布会 点赞三叉戟轻薄本战神
- 10.业界首发裸耳3D空间音频!荣耀平板MagicPad 13正式发布












高通骁龙X Elite/Plus竟有8个版本:完全
iPad Pro 2024来了:苹果下单近千万台 新
最强平板预定!vivo Pad3 Pro详细参数曝
M3版MacBook Air全球售价汇总:哪儿最贵
苹果M3版本MacBook Air 13/15发布
第一款3nm轻薄本来了!MacBook Air 2024蓄


