苹果获新电池背夹专利 支持双向无线充电:为无端口iPhone铺路
事实上,按照苹果的设想,他们未来要打造的iPhone是没有充点电接口的,换句话说就是,摆脱有线困扰,而他们也在朝这个方面努力,最快明年会有效果拿出来。
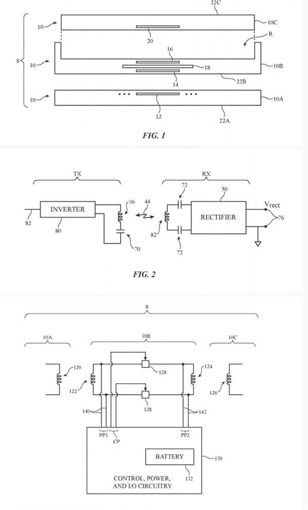
据外媒最新报道称,苹果近日获得了一项技术专利,概述了一种具备双向无线充电功能的电池背夹。在苹果此前申请的专利中,就有计划推出一款完全没有端口的 iPhone 设备。而配合这项技术专利,能够让电池背夹配合没有端口的iPhone进行充电操作。
在专利概述中称该电池背夹具有第一和第二线圈,分别位于电池的相对两侧,并具有在第一和第二线圈之间耦合的开关电路。双线圈将使电池盒能够通过无线充电为自己充电,同时也为设备充电。
事实上,之前就曾有消息称,苹果计划在明年推出一款无端口iPhone,其没有任何物理连接器,因此该设备只能通过无线方式充电。
据悉,苹果还在开发AirPower。被取消的稀有苹果产品可能会在今年晚些时候首次亮相。按照苹果的计划,对AirPower的重新推进苹果推销无端口iPhone。
- 全部评论(0)
15015654286 评论 科大讯飞星火认知大:大家好 期待
18458407950 评论 科大讯飞星火认知大:期待期待
17872407701 评论 科大讯飞星火认知大:好期待呀!
13869842415 评论 实践:更改“地区”:不同地区可用信道不同,澳大利亚属于可用信道很多的地区,所
13869842415 评论 实践:更改“地区”:abc就打不动我i大
15015654286 评论 火山引擎增长课堂 新:期待 期待
18139341200 评论 火山引擎增长课堂 新:多多的了解
- 1.小米新十年的关键跨越:战略升级「人车家全生态」,小米澎湃OS、小米14系列等重磅首发
- 2.百万跑分+游戏满帧 Redmi Note 12 Turbo发布
- 3.越级新标杆 “轻薄长续航 越级大内存”vivo Y100正式发布
- 4.蔡司影像,心临其境 vivo X100系列正式发布
- 5.自主研发与开放合作并举 vivo新技术亮相双芯x影像技术沟通会
- 6.产品力超越所有骁龙8Gen3 Pro版旗舰 十年超越之作一加12正式发布
- 7.杭州亚运会电竞赛事官方用机 超级标准版iQOO 11S正式发布
- 8.高性价比年度质感旗舰 真我GT2大师探索版正式发布
- 9.设计性能体验全面提升 vivo X Fold+折叠屏正式发布
- 10.一样好,又好不一样 vivo X Fold2|X Flip旗舰折叠新品正式发布












内存、闪存涨价25%是开始!1T、12/16/
170万跑分+6000mAh电池 这手机就是来捣乱
一加宣布全球首发高通最强中端处理器
3月发布会大盘点:科技新品齐亮相 小
天玑之王!联发科天玑9300+来了


