苹果布局卷轴屏:比折叠屏更梦幻
关于手机厂商各家卷轴屏的爆料信息之前也有不少,只不过因为成本居高不下、技术难实现等多方面的原因直至目前也只是停留在概念机的阶段,未能实现大规模量产走向消费市场,毕竟卷轴屏不只是屏幕要能卷,连主板、电池、摄像头、散热系统这些部件都得跟着“卷”起来,技术门槛太高。
但也不是说完全没有可能实现,近日苹果公开了一项名为“具有柔性显示结构的电子设备”的专利申请,再次将“卷轴屏iPhone”这一猜想拉回大众视野,引发广大用户关注与热议。
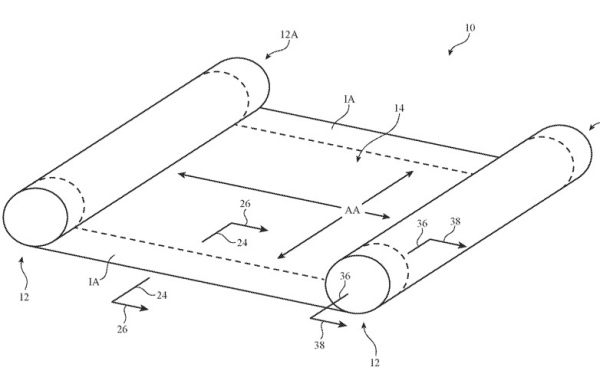
根据专利图可以看到,卷轴屏屏幕尺寸非常大,设备整体展开后只看到一块显示屏。而第二张专利图显示卷轴屏上部分边框比较大,上面有多个开槽,不过目前还不清楚这些开槽的作用是什么,有可能是摄像头的区域;下半部分边框则比较窄,标出来的应该是扬声器的开孔。
据了解,苹果的卷轴屏技术围绕独特的卷轴机制构建,与当下常见的如三星Z Flip系列、谷歌Fold系列的铰链折叠设计不同,苹果的卷轴屏屏幕“固定于刚性外壳内,能借助滚筒向外延展”,屏幕两侧设计了磁铁结构,能避免屏幕在伸缩过程中产生皱纹或折痕。
同时,细长的支撑部件用来加固屏幕,这些部件会随着屏幕的展开自动滑出,给屏幕提供更强有力的支撑;而当屏幕收缩时,这些结构也能完美地滑回去,屏幕最终无痕收起。
简单来说就是跟卷轴一样,需要时展开,不需要时就卷回去。而且这个卷轴设计不只是为手机准备的,专利里还提到它可以应用在眼镜、手表,甚至吊坠这类设备上。若真如此,未来有望带来极具颠覆性的产品形态变革。
早在2017年苹果便首次提出卷轴屏概念,多年来不断优化耐用性、紧凑性,以及解决显示僵硬等工程难题。随着柔性OLED屏幕技术的稳步改进,结合苹果在此卷轴设计上的深厚积累,外界猜测极有可能应用于2026年或更晚推出的可折叠iPhone产品中。
此前,三星、LG、OPPO等厂商也曾推出过卷轴屏概念机,向大众展示这一创新屏幕形态的可能性。
例如在2020年,OPPO发布了OPPO X 2021卷轴屏概念机,通过独特的卷轴设计让屏幕能够自由卷曲扩展,用户可以根据实际需求灵活调整屏幕尺寸,在便携性与大屏体验之间找到了完美平衡。
当需要浏览网页、观看视频时,可展开屏幕获得更大的视野;而在日常携带时,紧凑的机身又方便放入口袋或包包;在软件适配方面也进行了优化,确保屏幕在不同展开状态下系统和应用都能提供流畅、稳定的使用体验。
尽管这款卷轴屏概念机目前尚未实现量产,但它为OPPO在卷轴屏技术领域积累了经验,也向外界展示了OPPO对于未来手机形态的大胆设想与创新追求,为后续产品的研发奠定了基础。
话再说回来,专利申请并不等同于产品落地,但此次苹果的卷轴设计的多次更新迭代至少表明苹果并未放弃这一想法,或许正在等待技术成熟、市场接受度提升等合适时机,将这一创新设计真正推向市场,重塑智能手机的形态与交互方式,为消费者带来更超前的体验。
- 全部评论(0)
15015654286 评论 科大讯飞星火认知大:大家好 期待
18458407950 评论 科大讯飞星火认知大:期待期待
17872407701 评论 科大讯飞星火认知大:好期待呀!
13869842415 评论 实践:更改“地区”:不同地区可用信道不同,澳大利亚属于可用信道很多的地区,所
13869842415 评论 实践:更改“地区”:abc就打不动我i大
15015654286 评论 火山引擎增长课堂 新:期待 期待
18139341200 评论 火山引擎增长课堂 新:多多的了解
- 1.小米新十年的关键跨越:战略升级「人车家全生态」,小米澎湃OS、小米14系列等重磅首发
- 2.耐玩战神,续航超神!真我Neo7 SE、真我Neo7x正式发布
- 3.四大蓝科技满血集结,“一超多能”旗舰vivo X200系列发布
- 4.骁龙8至尊版纯血性能旗舰 真我GT7 Pro竞速版正式发布
- 5.《哪吒2》百亿票房里程碑,荣耀300系列十亿福利共贺荣耀时刻
- 6.专业“V单”vivo X200 Ultra和生态破壁vivo X200s,双旗舰正式发布
- 7.雷军年度演讲开启 2024小米科技春晚:小米MIX Fold4等重磅新品亮相
- 8.融合大量超跑动感元素 荣耀Magic6 RSR 保时捷设计发布
- 9.荣耀春季新品发布会正式召开,荣耀Magic6系列新品发布
- 10.玄戒O1、小米YU7正式亮相,小米开始硬核质变站上新起点












苹果布局卷轴屏:比折叠屏更梦幻
外观、配置全方位大改!iPhone 17 Pro爆
曝iPhone 17 Pro Max电池将达到5000mAh
moto g100 Pro上架:军工认证四年质保
“一步不退”零妥协姿态,荣耀Magic


